Ferrari’s electric supercar plans revealed
Ferrari's patent submission, which was recently revealed by the Taycan EV forum, discloses the information about the future all-electric supercar. However, the patent submission which explains the company's future powertrain setup isn't considered to be accurate information.

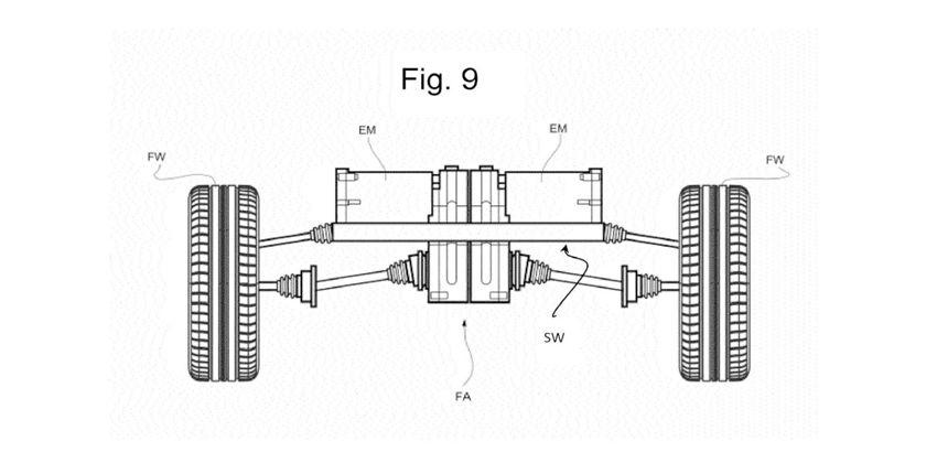
The future all-electric Ferrari is said to carry a total of four electric motors, one powering each wheel. As per the details of the patent, it describes the car as, "an electrically powered road vehicle comprising four drive wheels and four reversible electric machines, each of which is mechanically entirely independent of the other electric machines and has a shaft directly connected to a corresponding drive wheel."

As per the information on the patent, the battery pack used in powering the car will be situated in a clearance area housed by the rear wheels. Interestingly, the patent application applies to a hybrid form as well. For the hybrid setup, the internal combustion engine will be placed in the clearance area instead of the battery pack.
Although Ferrari is in the news for the patent submission, the company's CEO mentioned the issue of their first fully electric model, sometime after 2025. The delay in the arrival of such a powertrain setup is due to slow advancements in battery development.

Louis Camilleri also added, "There are still significant issues in terms of autonomy, in terms of speed of recharging. So eventually we will come out with one. But it's post-2025. Not in the short term,".
Ferrari's recent accomplishment towards electrified future is the SF 90 Stradale, its first hybrid car in series-production. The Stradale is powered with three electric motors, adding a combined output of 220 hp to a twin-turbocharged V8 engine, producing a maximum power of 769 hp.
Lastly, the automaker mentioned the last year's core earnings as 1.27 billion euros ($1.4 billion) and aims towards a strong performance in 2020. The company expects to convert 60% of its lineup to be hybrid by 2022.
Also read: Ferrari Museum showcases 70 years of Le Mans history
You might also be interested in
- News
Featured Cars
- Popular